冶金类输送链适用领域:钢厂。链条使用环境较为恶劣,并需承受较大的载荷,和较高的温度。
链条选用合金钢材料,对于有部分需承受较大的载荷的链条采用了专用的轴承作为链条的转动零件。使链条的承载力更大,同时也降低了链条的运行负荷
工厂生产的输送链支持钢卷和钢板运输,另外,我们可以提供钢材厂原料冷却和干燥链条,钢锭提升链条,钢管推头链条等其他用途链条

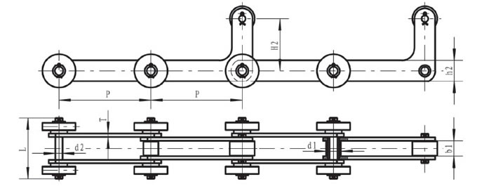
| Pitch P (mm) | Inner width of inner link b1 (mm) | Diameter of roller d1 (mm) | Diameter of pin d2 (mm) | Length of pin (mm) | Height of sidebar h2 (mm) | Thickness of sidebar T (mm) | Height of top chain H2 (mm) | Tensile strength Q (KN) |
| 135 | 45 | 50 | 30 | 103.5 | 90 | 12 | 120 | 500 |

| Pitch P (mm) | Inner width of inner link b1 (mm) | Diameter of roller d1 (mm) | Diameter of pin d2 (mm) | Length of pin (mm) | Height of sidebar h2 (mm) | Thickness of sidebar T (mm) | Height of top chain H2 (mm) | Tensile strength Q (KN) |
| 135 | 45 | 50 | 25 | 100 | 80 | 8 | 150 | 320 |

| Pitch P (mm) | Inner width of inner link b1 (mm) | Diameter of roller d1 (mm) | Diameter of pin d2 (mm) | Length of pin (mm) | Height of sidebar h2 (mm) | Thickness of sidebar T (mm) | Height of top chain H2 (mm) | Tensile strength Q (KN) |
| 250 | 38 | 50 | 25 | 160 | 70 | 10 | 140 | 320 |

| Pitch P (mm) | Inner width of inner link b1 (mm) | Diameter of roller d1 (mm) | Diameter of pin d2 (mm) | Length of pin (mm) | Height of sidebar h2 (mm) | Thickness of sidebar T (mm) | Height of top chain H2 (mm) | Tensile strength Q (KN) |
| 220 | 37 | 36 | 19.05 | 146 | 50 | 8 | 125 | 200 |

| Pitch P (mm) | Inner width of inner link b1 (mm) | Diameter of roller d1 (mm) | Diameter of pin d2 (mm) | Length of pin (mm) | Height of sidebar h2 (mm) | Thickness of sidebar T (mm) | Height of top chain H2 (mm) | Tensile strength Q (KN) |
| 125 | 40 | 56 | 30 | 176 | 70 | 10 | 120 | 315 |

| Pitch P (mm) | Inner width of inner link b1 (mm) | Diameter of roller d1 (mm) | Diameter of pin d2 (mm) | Length of pin (mm) | Height of sidebar h2 (mm) | Thickness of sidebar T (mm) | Height of top chain H2 (mm) | Tensile strength Q (KN) |
| 100 | 40 | 46 | 20 | 148 | 60 | 8 | 80 | 175 |
Related Names
Cranked Link Chain | Steel Mill Chain | Slat Conveyor Chain


